全国空降24小时免费_全国24小时空降服务电话_全国空降快餐官方客服电话_全国空降24小时服务下载

在线咨询1
在线咨询2
设为首页 加入收藏
 干油润滑部分
单线式集中润滑系统介绍
双线式集中润滑系统介绍
电动润滑泵
 
手(脚)动润滑泵
 
加油泵
 
气动泵
 
双线分配器
 
单线分配器
 
压力操纵、控制、换向阀及其附件
 
 稀油润滑部分
稀油集中润滑系统设计介绍
稀油润滑装置及稀油站
 
高(低)压稀油站
 
稀油润滑元件
 
 管件部分
 
 油气润滑部分
油气润滑系统设计介绍
油气润滑系统的形式
 
油气润滑系统产品
 
 电气控制部分
 
 
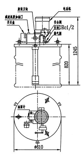
DJB-V70型电动加油泵(3.15MPa)

一、概述

适用于干油集中润滑系统中,向电动润滑泵的贮油器内充填润滑脂。该泵为不带贮油桶型,直接放在200L的油桶上,可以单独操作,与相应的电控装置连接可以实现电动润滑系统的自动补脂。该泵为内藏式柱塞容积泵,采用蜗轮蜗杆减速传动,运转平稳,输出压力高,出口处设置调压安全阀具有过载保护作用。

二、技术参数


型号
公称压力MPa
加油量mL/每次
功率kW
速比
减速箱加油量
重量kg
DJB-V70
3.15
70
0.37
1:25
0.35L
55
使用介质为锥入度265~385(25℃,150g)1/10mm的润滑脂(NLGI0#~2#)。
   
三、型号说明                 


四、外形尺寸

动作说明:

由垂直安装的电机经蜗杆带动蜗轮回转,在蜗轮端面上装有偏心轴,通过曲柄连杆带动柱塞上下往复运动,由活塞内部及管帽内单向阀的作用完成吸压油过程,经输油胶管向外输送。

使用说明:

1、建议按旋向箭头方向接线旋转。
2、使用的润滑脂必须干净、质地均匀,在规定牌号范围内。
3、首次使用前应向减速箱内注入润滑油(N220)至规定油面。
4、加油泵首次启动后,应先打开放气阀,正常出油后关闭。
5、不许在桶内无油脂的情况下空运转。

Copyright © 2012 上海玖仟润滑设备有限公司 公司地址:上海市宝山区河曲路118号 办公地址:上海市宝山区殷高路16弄2号1003室
电话:021-35365056 35365057 传真:021-23025976 网址:www.79ys94.cn E-mail:shanghai9000@126.com
主站蜘蛛池模板: 南城县| 吉首市| 宣化县| 抚宁县| 井研县| 吴桥县| 镇沅| 柯坪县| 邯郸市| 淮阳县| 临江市| 五莲县| 雅安市| 八宿县| 金坛市| 望奎县| 百色市| 津南区| 安平县| 嘉禾县| 临湘市| 和顺县| 曲水县| 桃源县| 桂东县| 文山县| 建平县| 汾阳市| 九龙坡区| 漠河县| 民权县| 乐陵市| 斗六市| 廉江市| 资中县| 丹棱县| 阳原县| 大足县| 安新县| 乌拉特前旗| 宜兴市|