全国空降24小时免费_全国24小时空降服务电话_全国空降快餐官方客服电话_全国空降24小时服务下载

在线咨询1
在线咨询2
设为首页 加入收藏
 干油润滑部分
单线式集中润滑系统介绍
双线式集中润滑系统介绍
电动润滑泵
 
手(脚)动润滑泵
 
加油泵
 
气动泵
 
双线分配器
 
单线分配器
 
压力操纵、控制、换向阀及其附件
 
 稀油润滑部分
稀油集中润滑系统设计介绍
稀油润滑装置及稀油站
 
高(低)压稀油站
 
稀油润滑元件
 
 管件部分
 
 油气润滑部分
油气润滑系统设计介绍
油气润滑系统的形式
 
油气润滑系统产品
 
 电气控制部分
 
 
塑料管夹JB/ZQ4008-97
一、概述
  适用于以油、水、气为介质的管道固定用塑料管夹。工作温度为-5~+100℃。
  A 系列管夹适用于中压、低压(PN≤8MPa)管道的固定;B系列管夹及B系列Ⅰ型组合安装管夹适用于中高压、高压(PN≤31.5MPa)管道的固定。
二、外形尺寸
1.1 A系列管夹的型式和尺寸见图1和表1。
表1
型式
管子
外径
Do
A
A1
C
H
H1
h
螺栓
重量
kg≈
型式
管子
外径
Do
A
A1
C
H
H1
h
螺栓
重量
kg≈
d
L
d
L
I
6
28
33
-
32
19
6
M6
20
0.06
II
20
48
53
33
42
24
6
M6
30
0.14
8
22
10
25
12
28
70
75
52
64
35
50
0.19
II
6
34
39
20
0.08
30
8
32
10
34
12
40
14
40
45
26
40
23
25
0.12
42
16
48
86
91
66
72
39
60
0.22
18
50
 注:静压油腊润滑管路,压力至10MPa,仍可选用A系列管夹。
1.2 B 型管夹的型式和尺寸见图2 和表2
表2
型式
管子
外径
Do
A
A1
B
B1
C
H1
H2
h
s
螺纹
重量 kg≈
d
L
I型
II型
I、
II
10、12
55
73
30
60
33
48
24
8
2
M10
45
0.3
0.6
14、16
18、20、22
70
85
45
64
32
60
0.4
0.8
25、28
30、32、34
84
100
60
76
38
70
0.5
1.0
40、42
48、50、57
115
150
45
90
90
110
55
10
3
M12
100
1.8
3.6
60、63.5
76、89
152
200
60
120
122
140
70
3.5
M16
130
2.5
5.0
102、108
205
270
80
160
168
200
100
15
4.5
M20
190
5.5
11
114、127
138、140
250
310
90
180
205
230
115
M24
220
8
16
159、168
  注:当管路介质压力较高时,可选用B系列I型和II型,但需缩小相邻管夹间距。
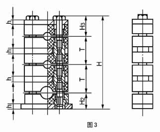
1.2.1 B 型系列Ⅰ型组合安装夹的型式和尺寸见图3 和表3。
a)同一外形尺寸的B 型系列Ⅰ型管夹,可叠垒成组成安装,但最多不超过5 根管子。
表3 mm
管子外径
Do
10
12
14
16
18
20
22
25
28
32
34
40
42
48
50
57
60
63.5
76
89
102
108
114
127
133
140
159
168
H3
31
39
45
63
80
113
130
T
40
56
68
100
130
185
215

b)尺寸计算 H=H2+H3+(N-1)·T
式中:N ——管子根数:
T ——相邻管距(见表3),mm;
H2、H3见表2和表3
◎注:组合安装管夹的每组重量可近似按(N-0.5)乘以表2中的单件重量。
2.1 标记说明
A 系列Ⅰ型、管子外径为12mm的塑料管夹:
塑料管夹A(Ⅰ)12 JB/ZQ4008-97
B 系列Ⅱ型、管子外径为28mm 的塑料管夹;
塑料管夹B(Ⅱ)28 JB/ZQ4008-97
B 系列Ⅰ型组合叠装、管子外径为22mm的3根、管子外径为28mm的2根的塑料管夹;
塑料管夹B(Ⅰ)22×3-28×2JB/ZQ4008-97
三、管夹承载能力
(A1,A2 及图A1,图A2)
A1 表示方法:管夹承受管子轴向力的能力大小,用曲线图表示。
A2 具体内容:图A1 用于“A 系列管夹”;图A2 用于“B 系列Ⅰ型管夹”。a 曲线表示管夹与管子处于“静摩擦状态”时,管子外径尺寸与管夹承受管子轴向力的函数关系。b曲线表示管夹与管子处于“动摩擦状态”时,管子外径尺寸与管夹承受管子轴向力及转矩的函数关系。

四、安装说明(B1~B3)
B1 管夹底板采用焊接法固定在焊接板、钢梁、轨道上。应注意焊接板、钢梁、轨道的固定必须牢靠,其所受负荷要保持在允许范围内(参考图A1、A2)
B2 安装时,相邻管夹的间距,应保持在1-3m 的距离。
B3 管路安装时,在弯管处其弧形部分之后,就应安装管夹。(见图B1)。
Copyright © 2012 上海玖仟润滑设备有限公司 公司地址:上海市宝山区河曲路118号 办公地址:上海市宝山区殷高路16弄2号1003室
电话:021-35365056 35365057 传真:021-23025976 网址:www.79ys94.cn E-mail:shanghai9000@126.com
主站蜘蛛池模板: 丰镇市| 九龙坡区| 新余市| 新昌县| 邯郸县| 郴州市| 申扎县| 当雄县| 禄丰县| 福泉市| 土默特右旗| 旬邑县| 慈利县| 托克托县| 封丘县| 昌都县| 阿坝| 乌拉特前旗| 威信县| 西乡县| 郸城县| 洛阳市| 运城市| 阜南县| 公安县| 浪卡子县| 海口市| 双辽市| 隆安县| 藁城市| 和龙市| 威宁| 麻栗坡县| 华蓥市| 宁化县| 林州市| 仲巴县| 博乐市| 霍邱县| 汉中市| 抚宁县|